Improving Your Transverter
Issue 44 Six News, January 1995
By Peter, PA2VST

Since the permit days on 6 meters, many operators in The Netherlands have had discussions about converters, transverters, input circuits, selectivity and power. This is because most of the permit holders made their own equipment for this fantastic band.

I did also and still do operate with the same transverter I made in March 1988. But I have changed the input circuit in the front end a couple of times because the poor original design did not perform too well.
First the selectivity was poor and later on, on some occasions, the selectivity and noise figure were also poor. As an experienced EME operator on 144MHz, I knew it was not easy to design a front end with the mentioned areas giving maximum performance. Now, after some time experimenting I have quite a fine input circuit that performs well.

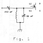
Figre 1Lets have a look at some commonly used input circuits that often are used in home construction or commercial designs (Figure 1.). The advantage of this circuit is a good match to the antenna cable and adjustable gain without unwanted oscillations. It is a fine and stable amplifier. But, the antenna is loading the coil, so the Q is rather low at this point and the selectivity is bad.. Signals much higher in frequency can easily break through the 150pF capacitor. In some cases the FET can be over driven and you will find many birdies on the band.

 

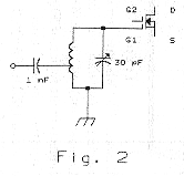
Figure 2A much better solution is the circuit in figure 2. The low impedance of the antenna cable is at a point on the coil at resonance, where the impedance is more or less the same value. The antenna is thus not degrading the Q and selectivity is much better. The gain is good and the noise figure is what you would expect. With such a design and a BF981 you can have a NF of 0.8dB. But, the match is difficult to find. Look around 1.5 windings at the cold end of the coil. It also depends on the coil quality itself. The 1nF capacitor is not necessary but can be useful if a switching circuit is part of the design. It will block DC. Near our fantastic band we find, during all sorts of propagation, many extremely strong signals that can simply pass the two previously described circuits. So we need more selectivity but without reducing our gain and increasing the NF. This is not easy. But why do we not combine some well known circuits?

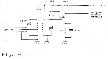
Figure 3We know that a parallel LC circuit without load can have many good qualities. We also know that we can change the impedance at any one frequency of that LC circuit by changing the resonant frequency (adjusting capacitor). This means we can have a good match if we do not load the LC circuit (Figure 3.) If we connect another parallel LC circuit in resonance at G1 of the FET and don’t load it, you have fantastic selectivity, when the correct C and L are chosen. When we couple these two LC circuits in the same field, we are not loading the circuits too much, but we do have fine low-loss coupling. The impedance of the FET is high and the result is shown in Fig 4.

L1 + L2 are 8.5 winding 0.75 silverplated copper wire with a diameter of 6mm. and 12mm. long.
C1 + C2 are 30pF trimmers of good quality.
The antenna is connected with thin 50 ohm coax at 1.5 windings.
L1 and L2 are coupled with a distance of 10mm.
L1 and L2 are mounted vertical onto the PCB to avoid capacitive coupling.

Figure 4Experiments and measurements show a better NF with approx. 0.6dB and a good gain. Selectivity is also much improved and since the installation of this input circuit I have not experienced any first stage overdrive problems. The FET is a simple BF981. Henk PA2HJS has also tried it with the same results. Having the same gain, high selectivity and a good noise figure means also that the match to the antenna cable is good. The connection to the coil of the first LC circuit is not critical, but should not vary more than one forth of a winding.

With this input circuit I can hear most of the available noise sources (Sagittarius, Omega M17) and have heard K6MYC and K6QXY off the moon. My antenna is a 1 wavelength, 5 element home-brew yagi. I hope you can have the same performance in your receiver as I have found.

All the best to all 6 metre operators, Peter PA2VST.

To return to the archive page click here